2025年8月7日消息,国家知识产权局信息显示,比亚迪股份有限公司取得一项名为“电池包壳体、电池包和用电设备”的专利,授权公告号CN223193932U,申请日期为2024年09月。
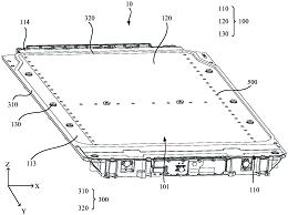
专利摘要显示,本申请公开了一种电池包壳体、电池包和用电设备,涉及电池技术领域,本申请的电池包壳体,包括:托盘组件,包括:托盘主体、顶盖和多个吊耳,所述托盘主体限定出顶部具有开口的容纳腔,所述顶盖封盖所述容纳腔,多个所述吊耳设于所述托盘主体且至少位于所述容纳腔的相对两侧,所述吊耳用于穿设第一紧固件;第一密封件,所述第一密封件设于所述托盘组件的顶部,且沿所述容纳腔的周向延伸,多个所述吊耳中的至少部分处于所述第一密封件所围合出的区域内。

-----END-----

华人螺丝网媒体事业部提供全面的紧固件企业服务,包括媒体传播、品牌宣传、人才招聘、海外市场拓展、交易撮合、会议论坛和技术服务等。旗舰产品《华人地区螺丝产业大全》年鉴、《CFM》全英文外销杂志、华人螺丝海外参访团、CAS外销会员、华网VIP会员服务、招聘会员服务等。
责任编辑: 陈振烨
频道主编: 黄秋奋
合作联系: 袁小成女士 18688878737








