国家知识产权局信息显示,浙江先创汽车零部件有限公司取得一项名为“一种螺母攻牙装置”的专利,授权公告号 CN 223492247 U,申请日期为 2024 年 12 月。
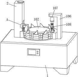
专利摘要显示,本实用新型涉及螺母攻牙技术领域,公开了一种螺母攻牙装置,包括螺母攻牙底座、固定安装于螺母攻牙底座内部的伺服电机和固定杆状于螺母攻牙底座顶部另一侧的定位弧板,螺母攻牙底座的顶部转动安装有与伺服电机输出端固定连接的螺母定位盘螺母定位盘的外侧呈轴心分布均匀开设有螺母定位槽。本实用新型通过伺服电机带动螺母定位盘转动,使螺母定位槽转动至预存放槽底部的一侧,由于螺母定位槽为多层不同的尺寸,顶层为尺寸最大,且螺母定位盘的后端包围有定位弧板,使不同尺寸的螺母滑入螺母定位槽的内部后可以通过定位弧板的限位自动定位至螺母定位槽的中心位置,方便不同尺寸的螺母进行自动定位攻牙作业。

-----END-----

华人螺丝网媒体事业部提供全面的紧固件企业服务,包括媒体传播、品牌宣传、人才招聘、海外市场拓展、交易撮合、会议论坛和技术服务等。旗舰产品《华人地区螺丝产业大全》年鉴、《CFM》全英文外销杂志、华人螺丝海外参访团、CAS外销会员、华网VIP会员服务、招聘会员服务等。
责任编辑: 陈振烨
频道主编: 黄秋奋
合作联系: 袁小成女士 18688878737








