2025年7月23日消息,国家知识产权局信息显示,惠州卓越紧固系统有限公司取得一项名为“一种新型汽车座椅螺钉及其模具”的专利,授权公告号CN223136657U,申请日期为2024年10月。
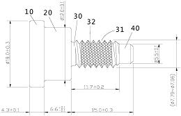
专利摘要显示,本实用新型一种新型汽车座椅螺钉及其模具,包括螺钉头、连接于螺钉头后端的螺钉台、连接于螺钉台后端的螺杆、连接于螺杆后端的螺尾柱,螺钉头中心设有内六角槽,螺钉台的高度至少是螺钉头的高度的两倍,螺钉台的外径小于螺钉头的外径,螺杆的外径小于螺钉台的外径,螺尾柱的外径小于螺杆的外径,螺杆的长度至少大于螺钉台和螺钉头的两者高度之和,螺杆的螺纹区中设有防松机构。本方案螺钉克服了普通螺钉的机械强度、抗疲劳度、耐磨性经不起汽车长时间、长距离、颠簸途径、人在座椅上多次起坐及随车摆动的考验,导致松动或断裂或对座椅产生损伤的问题。

资料显示,惠州卓越紧固系统有限公司,成立于2011年,是一家以从事专用设备制造业为主的企业,于2011年5月加入深圳航空标准件有限公司(简称SHBC),是深圳中航集团股份有限公司(股份代号:0161.HK)全资子公司。
-----END-----

华人螺丝网媒体事业部提供全面的紧固件企业服务,包括媒体传播、品牌宣传、人才招聘、海外市场拓展、交易撮合、会议论坛和技术服务等。旗舰产品《华人地区螺丝产业大全》年鉴、《CFM》全英文外销杂志、华人螺丝海外参访团、CAS外销会员、华网VIP会员服务、招聘会员服务等。
责任编辑: 陈振烨
频道主编: 黄秋奋
合作联系: 袁小成女士 18688878737








